历史版本12 :计算时间差 返回文档
编辑时间:
内容长度:图片数:目录数:
修改原因:
1. 概述编辑
1.1 预期效果
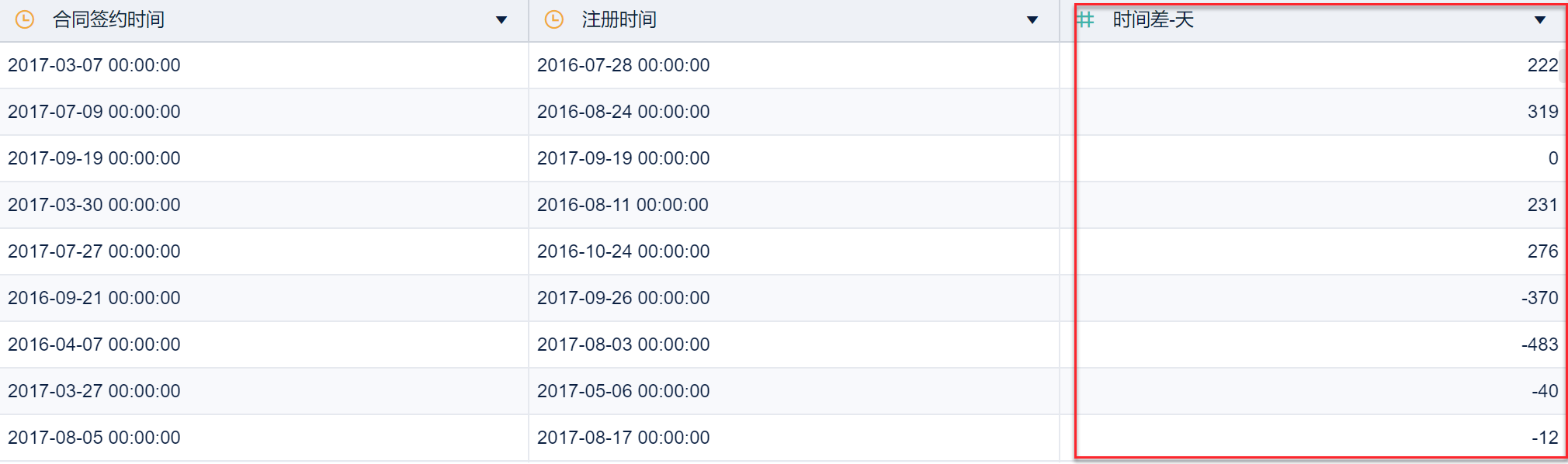
用户有时需要计算两个时间之间的时间差,例如需要计算「合同签约时间」和「注册时间」之间相差多少天,如下图所示:

1.2 实现思路
使用「时间差」实现。
使用函数 DATESUBDATE 实现。
2. 使用新增列计算时间差编辑
示例数据:合同事实表.xlsx
2.1 新建分析主题
新建分析主题并添加数据集「合同事实表」,如下图所示:



2.2 计算时间差
点击「时间差」,命名新增列为「时间差-天」,设置时间差=「合同签约时间-注册时间」,单位为「天」,点击「确定」,如下图所示:
保存或继续进行数据分析即可。
2.3 效果查看
详情参见本文 1.1 节。
3. 使用 DATESUBDATE 函数实现编辑
3.1 编辑数据实现
3.1.1 添加数据
添加数据集「合同事实表」,详情参见本文2.1节。
3.1.2 使用函数计算时间差
点击「新增公式列」,命名新增公式列为「时间差-天」,输入公式DATESUBDATE(合同签约时间,注册时间,"d"),点击「确定」,如下图所示:

保存或继续进行数据分析即可。
3.2 组件实现
3.2.1 添加组件
点击左下角「组件」,如下图所示:

3.2.2 使用函数计算时间差
添加计算字段,字段名称为「时间差-天」,输入公式DATESUBDATE(合同签约时间,注册时间,"d"),点击「确定」,如下图所示:

3.2.3 效果查看
将对应字段拖入分析区域,效果如下图所示:


