1. 概述编辑
1.1 版本
| FineBI服务器版本 | 功能变更 |
|---|---|
| 6.0 | - |
| 6.0.8 | 1)「用户行为」Tab 下新增「登录登出」功能 2)原「用户行为」功能更名为「模板业务」功能 |
| 6.0.13 | 1)「访问统计-系统访问次数」中,支持统计移动端访问模板的记录 2)「管理日志」新增记录场景,如:清除所有用户、新建脱敏规则等操作场景 |
| 6.0.17 | 1)「访问统计」支持统计分析文档的模板记录 2)「用户行为」支持记录分析文档的用户行为 3)「模板热度」支持统计分析文档访问量分析 4)「性能监控」支持监控分析文档的响应性能 |
1.2 功能简介
管理员登录FineBI系统,点击「管理系统>智能运维>平台日志」,可看到多项日志记录。
平台日志是对系统运行的各项情况进行监控分析,通过此功能可以查看到系统运行状态的各种指标。如下图所示:

1.3 使用前提
非超管用户如需查看平台日志,需要拥有「智能运维」模块和「平台日志」子模块的使用权限。
超管登录FineBI系统,点击「管理系统>权限管理>普通权限配置」,选中对应用户。
1)为用户开通「管理系统>智能运维」模块的使用权限。
1)为用户开通「管理系统>智能运维>平台日志」子模块的使用权限。

2. 访问统计编辑
访问统计分为三个方面:系统访问次数、服务器使用情况、模板访问明细,可简单分析仪表板的使用率。
2.1 系统访问次数
「系统访问次数」以折线图的方式介绍系统访问次数、被访问模板数、活跃客户数。
支持按照月份筛选访问时间
对于多节点集群工程,从任一节点访问,均可查看整个集群的日志信息
如为FineBI和FineReport集成工程,支持筛选统计对象:报表模板、BI模板

2.1.1 数据来源
「系统访问次数」中的数据是过滤 LogDB 数据库 fine_record_execute 表中的数据。
当「统计对象」选择「报表模板、BI模板」时,过滤出 fine_record_execute 表中 type 在下表范围内的数据进行图表中的指标统计。
1)fine_record_execute 表字段具体介绍请参见:LogDB 表结构 。
2)当「统计对象」选择「报表模板+BI模板」时,过滤出下表所示的全部数据。
3)「统计对象」按照模板名称进行统计。若一张仪表板修改名称后,改名前和改名后会分为两个「统计对象」。
4)FineBI 6.0.13 及之后版本,支持统计移动端访问模板的记录。
| 统计对象 | 字段 type 编码 | 类型 |
|---|---|---|
| 报表模板 | 0 | 分页预览 |
| 1 | 在线分析 | |
| 2 | 填报预览 | |
| 3 | 决策报表预览 | |
| 4 | 行式引擎 | |
| 5 | 在线编辑 | |
| 6 | 新填报 | |
| 7 | 新引擎预览 | |
| 8 | 大屏FVS预览 | |
| BI 模板 | 101 | BI 模板预览 |
| 102 | BI 模板编辑 | |
| 105 | 查看BI公共链接 | |
| 104 | 创建BI公共链接 | |
| 109 | BI模板另存为 | |
| 202 | 编辑自助数据集 | |
| 204 | 关闭分享自助数据集 | |
| 205 | 关闭分享BI模板 | |
| 206 | 关闭BI公共链接 | |
| 302 | 编辑组件 | |
| 401 | 预览Excel插件模板 | |
| 404 | 创建Excel插件公共链接 | |
| 405 | 通过公共链接访问Excel插件模板 | |
| 409 | Excel仪表板另存为 | |
| 701 | 预览分析文档 | |
| 702 | 编辑分析文档 | |
| 703 | 创建分析文档的公共链接 | |
| 704 | 通过公共链接访问分析文档 |
2.1.2 计算逻辑
各数值计算逻辑如下表所示:
| 数值 | 说明 |
|---|---|
| 当月日均访问量 | 当月已有天数内,访问的报表、BI 模板总次数/访问天数 |
| 当月活跃模板数 | 当月已有天数访问的模板个数去重 |
| 当月活跃用户数 | 当月已有天数访问平台的用户数去重 |
| 日访问量 | 蓝色折线,当天访问的报表、BI 模板总次数 |
| 日活跃模板数 | 绿色折线,当天访问的报表、BI 模板个数去重 |
| 日活跃用户数 | 橙色折线,当天访问平台的用户数去重 |
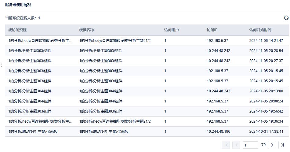
2.2 服务器使用情况
2.2.1 当前系统在线人数
没有连上 Websocket ,当前系统在线人数无法正确显示,用户登录不计算在当前系统在线人数中,具体请参见:Websocket 端口被占用/无法使用
同一个浏览器登录两个账号,后一个用户信息会覆盖前一个用户信息,只算一个用户。
必须要通过登录页进入平台,才会被算入当前系统在线人数(单点登录同样适用),只访问模板,不访问平台,不会计入。
有新用户登录查看当前系统在线人数时,记得刷新页面再查看。
2.2.2 具体列表说明
「服务器使用情况」列表中介绍「XX用户在XX时间XX地点访问了平台中的XX模板」。
这个明细列表中显示的是当前正在被预览的报表模板。
普通用户登录查看模板,该模板的访问信息会实时显示在这个明细列表中。
普通用户关闭正在访问的模板,刷新平台,明细列表中该模板的访问信息消失。

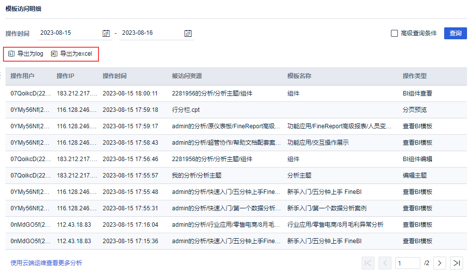
2.3 模板访问明细
「模板访问明细」记录「XX用户在XX时间XX地点以XX方式访问了系统中的XX模板」,工程下所有模板的访问记录都会展示在此处。
「模板访问明细」详细介绍哪个目录下面的报表被访问,访问时间,访问的 IP,操作(什么方式访问的 BI 如:分页预览、BI 查看、BI 编辑、EXCEL分页导出等),角色(登录用户名的角色),用户名等。
2.3.1 查询方法
管理员可选择某个时间段,默认为「前一日」到「当日」,点击「查询」,即可查询该时间段下的明细。
管理员可勾选「高级查询条件」,选择需要查询的内容,再点击查询,即可查询出特定设置条件下的明细。
支持筛选操作用户为空的日志,支持筛选模板名称为空的模板。
仅对用户访问直接挂载到目录的模板名称进行记录。如使用超链挂载,或使用公共链接等形式访问,不确保记录。

2.3.2 导出访问明细
查询后,管理员可导出日志文件,如下图所示:
点击「导出为log」按钮可导出 .txt 格式,点击「导出为excel」可导出 .xls 格式。
注:最多只可导出1W条日志数据。

2.3.3 操作类型
部分操作字段在 log 里为数字,对应的日志信息类型如下表所示:
注1:部分操作类型后显示「?」,悬停可查看具体操作信息。

| 数字 | 类型 | 是否显示「?」 | 显示内容 |
|---|---|---|---|
| 0 | 分页预览 | 否 | - |
| 1 | 在线分析 | 否 | - |
| 2 | 填报预览 | 否 | - |
| 3 | 决策报表预览 | 否 | - |
| 4 | 行式引擎 | 否 | - |
| 5 | 在线编辑 | 否 | - |
| 10 | Excel分页导出 | 否 | - |
| 11 | Excel原样导出 | 否 | - |
| 12 | Excel整页导出,对应场景包括: 1)大数据集导出插件导出Excel 2)Excel分页导出、原样导出启用了行式引擎的报表 | 否 | - |
| 13 | Excel分页分sheet导出 | 否 | - |
| 14 | PDF导出 | 否 | - |
| 15 | Word导出 | 否 | - |
| 16 | SVG导出 | 否 | - |
| 17 | CSV导出 | 否 | - |
| 18 | 文本导出 | 否 | - |
| 19 | JPG图片导出 | 否 | - |
| 20 | PNG图片导出 | 否 | - |
| 21 | GIF图片导出 | 否 | - |
| 22 | BMP图片导出 | 否 | - |
| 23 | WBMP图片导出 | 否 | - |
| 24 | 内置数据集导出模板 | 否 | - |
| 25 | HTML导出 | 否 | - |
| 26 | 填报HTML导出 | 否 | - |
| 27 | BI导出Excel | 否 | - |
| 30 | Flash打印 | 否 | - |
| 31 | PDF打印 | 否 | - |
| 32 | Applet打印 | 否 | - |
| 33 | 零客户端打印 | 否 | - |
| 34 | 本地软件打印 | 否 | - |
| 101 | 查看BI模板 | 否 | - |
| 102 | 编辑BI模板 | 否 | - |
| 103 | 分享BI模板 | 是 | 被分享人:XXXX |
| 104 | 创建BI公共链接 | 否 | - |
| 105 | 查看BI公共链接 | 否 | - |
| 106 | 全局导出PDF | 否 | - |
| 107 | 全局导出Excel | 是 | 导出单元格:XXXX |
| 108 | 组件导出Excel | 是 | 导出单元格:XXXX |
| 109 | BI模板另存为 | 否 | - |
| 201 | 关闭浏览器TAB页 | 否 | - |
| 202 | 编辑自助数据集 | 否 | - |
| 203 | 分享自助数据集 | 是 | 被分享人:XXXX 类型:XXX |
| 204 | 关闭分享自助数据集 | 是 | 被分享人:XXXX |
| 205 | 关闭分享BI模板 | 是 | 被分享人:XXXX |
| 206 | 关闭BI公共链接 | 否 | - |
3. 用户行为编辑
用户行为分为模板业务和登录登出两个方面,可获取用户具体的操作信息并进行简单分析。
3.1 模板业务
1)在「用户行为>模板业务」界面,支持筛选:操作时间、操作用户
2)查询后,以明细表展示指定时间段内用户对模板的查看次数、导出次数、打印次数和总操作次数
3)点击用户名超链,可跳转到该用户行为明细表
4)支持导出日志,最多只可导出1W条日志数据。
点击「导出为log」按钮可导出 .txt 格式,点击「导出为excel」可导出 .xls 格式。
注:若使用公共链接访问,操作用户为空。

3.2 登录登出
6.0.8 及之后版本新增「登录登出」日志记录功能,记录用户的每个登录、登出请求,便于审查用户登录情况。
记录范围包括:默认登录、跨域登录、远程设计、第三方和移动端。
3.2.1 查询方法
1)在「用户行为>登录登出」界面,支持筛选:
操作时间:某个时间段,默认为「前一日」到「当日」
操作用户:执行登录登出操作的平台用户名,默认全选
操作类型:登录、注销、超时登出、保持登录,默认全选
操作结果:成功、失败,默认全选
2)点击「查询」,即可查询该时间段下用户的登录登出记录
3)查询后,管理员可导出日志文件,最多只可导出1W条日志数据。
点击「导出为log」按钮可导出 .txt 格式,点击「导出为excel」可导出 .xls 格式。

3.2.2 日志查看说明
登录登出日志存储在 logdb 的 fine_record_login 表中,对应的说明如下表所示,详情请参见:LogDB 表结构 。
| 字段 | 含义 | 说明 |
|---|---|---|
| actionMethod | 登录方式 | 0:默认登录 1:跨域登录 2:远程设计 3:第三方 4:移动端 注:登出时,无登录方式,字段值为 -1 。为区分登出设备,单独设置移动端登出时的字段值为 4 。 |
| actionType | 操作类型 | 0:登录 1:注销 2:超时登出 3:保持登录 |
| authMethod | 认证方式 | 0:密码 1:验证码 2:集成 注:登出时,无认证方式,字段值为 -1 。 |
| actionResult | 操作结果 | 0:成功 1:失败 |
4. 模板热度编辑
支持模板访问量分析,以便管理员了解业务热点。
1)在「模板热度」界面,支持筛选:操作时间、模板名称
2)点击「查询」,以明细表形式展示指定时间段内,各个模板的查看次数、导出次数、打印次数和总操作次数。
明细表以总操作次数降序展示。
模板名称是目录管理中配置的目录名称。如果通过非平台目录(公共链接或钻取)查看模板,模板名称为空。
被访问资源,为仪表板在用户的分析中的存放路径
同一张模板,如果挂载在平台多个目录中,将分为多条记录进行统计。
同一张模板,如果通过公共链接查看,或者通过钻取查看,将分为多条记录进行统计。
查看次数包括查看BI模板、编辑BI模板、查看BI公共链接三种的操作次数
3)点击被访问资源超链,跳转展示该模板的明细访问情况,按时间先后展示明细数据。
4)查询后,管理员可导出日志文件,最多只可导出1W条日志数据。
点击「导出为log」按钮可导出 .txt 格式,点击「导出为excel」可导出 .xls 格式。

5. 性能监控编辑
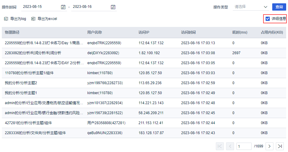
支持模板的响应性能分析,为管理员优化系统提供参考。
展示已完成用户请求的模板,最长响应时间,最短响应时间,平均耗时,内存占用。设置日期参数,同时设置操作行为类别参数,如下图所示:

勾选「详细信息」,效果如下图所示:

查询后,管理员可导出日志文件,如下图所示:
点击「导出为log」按钮可导出 .txt 格式,点击「导出为excel」可导出 .xls 格式。
注:最多只可导出1W条日志数据。

6. 操作日志编辑
1)在「操作日志」界面
支持筛选:操作时间
支持勾选高级查询条件,筛选操作用户、操作IP、模块、操作对象、操作类型
2)点击查询,显示出日志信息
包括:模块:操作对象、操作用户、操作IP、操作时间、被访问资源、操作类型
3)查询后,管理员可导出日志文件,最多只可导出1W条日志数据。
点击「导出为log」按钮可导出 .txt 格式
点击「导出为excel」可导出 .xls 格式

4)操作类型包含:
| 模块 | 操作对象 | 操作类型 |
|---|---|---|
| 目录管理 | 节点/模板/链接/上报标签/管理首页 | 添加/更新/删除 |
| 用户管理 | 全局设置/用户/部门/部门下职位/职位/职位下人员/角色/角色下人员/平台使用用户/移动平台用户 | 添加/更新/删除 |
用户管理 | 查看用户/设计用户 | 全选/清空/添加/删除 限制使用用户-打开/关闭 |
| 权限管理 | 全局设置/权限设置/权限复用 | 添加/更新/删除 |
权限管理 | 目录导出权限/快捷配置-目录导出权限 | 添加/删除 |
| 权限管理 | 业务包权限/快捷配置-业务包权限 | 添加/删除/行权限-更新/列权限-更新 |
| 权限管理 | 仪表板权限-模板分享 | 添加/删除/更新 |
| 权限管理 | 仪表板权限-公共链接 | 添加/删除 |
| 外观配置 | 登录页/平台主题/平台样式/目录样式/BI全局样式 /报表样式 | 添加/更新/删除/重命名/切换 |
| 附件 | 附件上传 | 添加 |
| 系统管理 | 登录/常规/打印/短信/邮箱 | 打开/关闭/更新 |
| 备份还原 | 全局配置/平台配置/报表模板/jar包/插件/更新升级 | 打开/关闭/添加/更新/删除/还原 |
| 平台日志 | 日志设置/访问明细/用户行为/模板热度/性能监控 | 更新/导出 |
| 负载管理 | 智能预警/内存会话/智能释放/模板限制/生命周期 | 结束/更新 |
| 数据连接 | 数据连接管理/服务器数据集/数据集 | 预览/添加/更新/删除/测试连接 |
| 注册信息 | - | 更新 |
| 安全管理 | sql防注入 | 打开/关闭/更新 |
安全管理 | 全局水印 | 打开/关闭 |
| 定时调度 | 定时任务/全局设置 | 添加/更新/删除 |
| 移动平台 | 移动平台/授权设备/二维码配置 | 打开/关闭/更新 |
资源迁移 | 资源导入/资源导出 | 同时导出权限配置:true/false |
| 模板认证 | 全局设置/权限设置 | 添加/更新/删除 |
| 插件管理 | - | 安装/删除/启用/禁用/更新 |
| 地图配置 | 地理信息/自定义图片/自定义GIS图层 | 更新/导入 |
管理系统>智能运维>信息通知 | 数据更新 | 更新 |
| 模板消息-申请挂出/分享 | 更新 | |
更新任务管理 | BI数据定时更新任务/运行监控 | 添加/编辑/删除/启用/暂停/终止任务 /插队/结束任务 |
| 公共数据 | 编辑数据集/新建数据集/删除数据集 /删除公共数据文件夹 | 添加/编辑/删除 |
| 发布管理 | 自助数据集/仪表板 | 申请发布/发布成功/取消发布成功 |
| 回收站 | 还原数据集/彻底删除数据集 | 还原/删除 |
7. 模板报错编辑
7.1 模板报错功能
点击查询,汇总统计模板使用中的错误,包括:模板名称、被访问资源,错误代码、错误内容、出现次数、总访问次数,如下图所示:
1)如果通过非平台目录(模板 URL 或钻取)查看模板,模板名称显示为非挂载访问。
2)同一张模板,如果挂载在平台多个目录中,将分为多条记录进行统计。
同一张模板,如果通过URL 查看,或者通过钻取查看,将分为多条记录进行统计。
3)筛选栏中仅显示有报错记录的模板。

点击「错误详情」,显示对应模板对应报错类别下的详细报错及查询情况,包括:用户名称、错误详情、查询参数、报错时间、模板预览结果。
注:为避免报错信息冗余,单次访问仅会记录出现的前5次报错

查询后,管理员可导出模板报错日志文件,如下图所示:
支持导出日志,点击「导出为log」按钮可导出 .txt 格式,点击「导出为excel」可导出 .xls 格式。
注:最多只可导出1W条日志数据。

7.2 模板报错通知
管理员登录数据决策系统,点击「管理系统>智能运维>平台日志」,点击「全局设置」,支持开启「模板报错通知」,如下图所示:
若开启了「模板报错通知」,系统将在每日凌晨 2 点检查前一天的报错模板,存在报错模板时可通过短信提醒、平台消息、邮件提醒三种形式通知管理员。

注:
1)短信提醒:需要开启短信平台,详细点击 短信
2)邮件提醒:需要配置邮件服务器,详细点击 邮箱
3)平台消息:需要在负载均衡层面配置websocket端口并且开放,相关文档:WebSocket连接失败

