1. 概述编辑
1.1 预期效果
对销售额进行排名后,可以过滤出销售额排在前 30% 的店。即当门店数为 20 时筛选出前 6 名,门店数为 30 时,筛选前 9 名。如下所示:

1.2 实现思路
先对各门店的销售额进行排名,再通过筛选可以过滤出需要的门店。
2. 示例编辑
示例数据:门店销售数据统计.xlsx
新建分析主题,并添加该数据集
2.1 添加计算字段
2.1.1 计算每个店铺的排名
1)计算每个店铺的销售额,如下图所示:

2)按店铺的销售额对店铺进行排名,如下图所示:

| 公式 | 描述 |
|---|---|
| DEF(COUNTD_AGG(店名),[店名],[每个店的销售额>=EARLIER(每个店的销售额)]) |
满足客户数大于等于「当前店铺销售额」的店铺有多少个,对结果计算得到排名 |
2.1.2 求店铺总数
新增计算字段「总店铺数」 ,使用公式 DEF 计算门店的总数。

2.2 制作表格组件
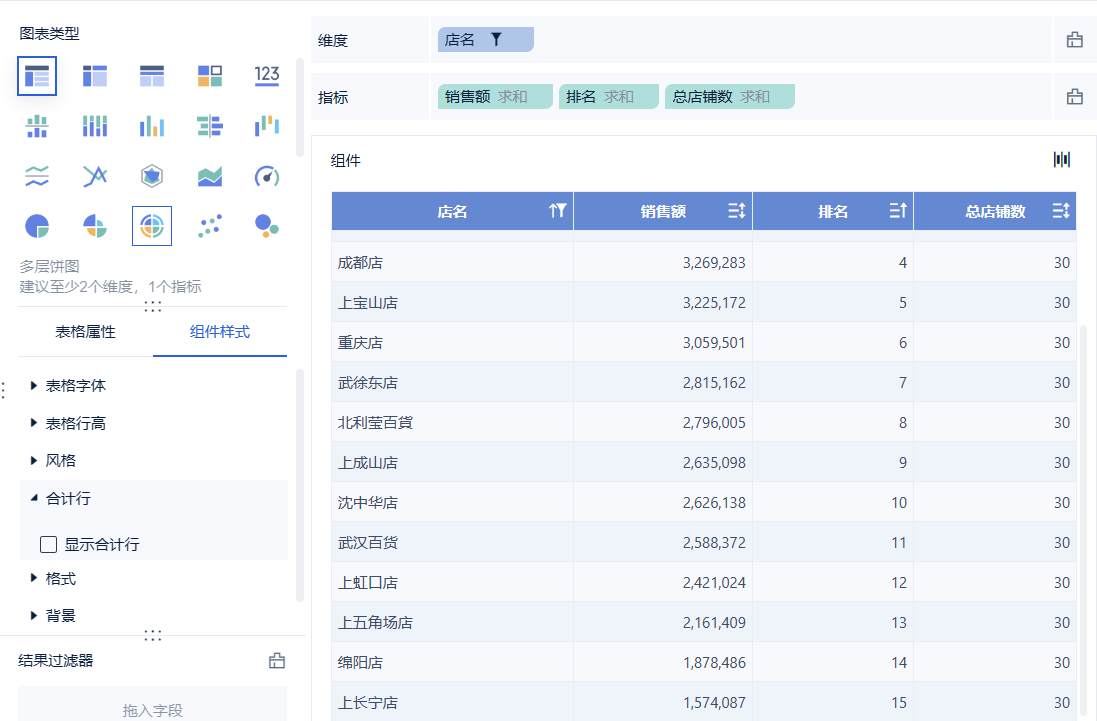
1)将「店名」拖入维度栏,「销售额」「排名」「总门店数」拖入指标栏,选择图标类型为分组表,如下图所示:

2)对「店名」字段选择下拉>过滤,如下图所示:

2.3 筛选出销售额前 30% 的门店
设置过滤条件:排名<=总门店数*0.3,如下图所示:

注:公式框中的字段都需要点击左侧的选择区域选择,不能手动输入。
一共有 30 家门店,前 30% 就是销售额排名前 9 的门店。过滤后的效果如下图所示:

2.4 增加文本过滤组件
1)进入仪表板编辑界面,将刚刚制作的组件拖入到仪表板之中。
2)添加一个「文本下拉过滤组件」,如下图所示:

选择「门店销售数据统计」下的「店名」至字段栏,如下图所示:

文本下拉筛选 20 个店,则排名显示前六名,如下图所示:

2.5 效果查看
详情请参见本文 1.1 节。
3. 注意事项编辑
3.1 筛选出销售额前 50% 的门店
通过 ROUND 函数返回计算后最接近的整数,公式为:排名<=ROUND(总门店数*0.5,0),设置的过滤条件如下图所示:

注:公式框中的字段都需要点击左侧的选择区域选择,不能手动输入。
预览区自动筛选出销售额前 50% 门店,过滤后的效果如下图所示:


