1. 概述编辑
使用文档学习可参考下文,视频学习如下:
1.1 版本
| FineBI 版本 | 功能变动 |
|---|---|
| 7.0 | - |
1.2 应用场景
用户需要在不影响原有字段基础上,进行一些汇总计算。
比如,想要知道每个销售大区的销售额是多少?想要知道各个销售大区的门店数量是多少?
用户可以分组字段选择「销售大区」,对「销售额」或「门店」进行一些汇总计算。
1.3 功能简介
依据选择的分组字段,新增一列聚合汇总值(和 fixed类函数 实现效果类似)。
与 分组汇总 不同,在「新增汇总列」计算,不会对原有字段产生影响。
2. 示例编辑
示例数据:门店销售数据统计.xlsx
统计每个销售大区的销售额、门店数量、以及销售额的累计情况。
添加示例数据集「门店销售数据统计」编辑数据。选择部分字段,并添加分析步骤「新增列」。如下图所示:

点击「新增汇总列」,两种方式,如下图所示:

2.1 计算每个大区的销售额
「新增汇总列」分组字段选择「所属大区」,对「销售额」进行求和,如下图所示:

点击确定后,数据表中新增一列字段,展示每个大区的销售额的和。如下图所示:

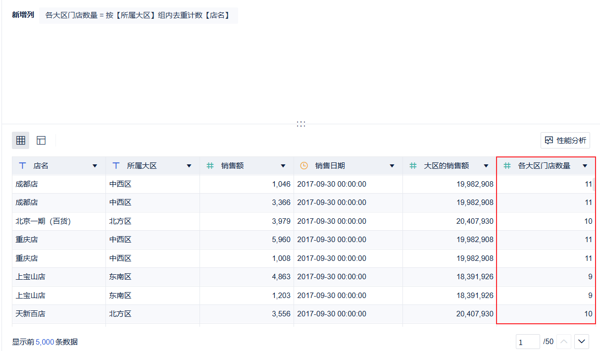
2.2 计算每个大区的门店数量
选择「新增汇总列」,分组字段选择「所属大区」,对「店名」进行去重计数,如下图所示:

点击确定后,数据表中新增一列字段,展示每个大区门店的数量。如下图所示:

2.3 计算销售额随时间的累计值
选择「新增汇总列」,对「销售额」进行累计计算。如下图所示:
汇总方式选择累计值后,用户可以设置按照什么顺序进行累计。下图的累计顺序是:按照「销售日期」从早到晚进行累计,若销售日期相同,则再按照「销售额」从小到大排序累计计算。

点击确定后,新增一列「销售额随时间的累计值」如下图所示:

2.4 计算组内累计值
上一小节我们介绍了对所有列进行累计如何计算。
若需要进行分组累计,比如需要按照销售日期计算每个店铺的销售额累计,该如何做呢?
1)为方便观察累计效果,我们先对字段进行排序。数据表先按照「店名」进行排序,若店名一致,则再按照「销售日期」进行排序。如下图所示:
详情请参见:排序

2)实现计算店铺销售额累计值(按「店名」分组,汇总「销售额」),销售额按照销售日期顺序累计()。
选择「新增汇总列」,选择分组字段为「店名」,汇总字段为「销售额」,汇总方式为「累计值」,排序字段为「销售日期」。如下图所示:

最终结果如下图所示:

3. 功能描述编辑
「汇总字段」选择不同的字段类型,「汇总方式」也会不同。用户可根据自己的需要,选择对应的汇总方式。
| 汇总字段 | 汇总方式 |
|---|---|
| 数值字段 | 求和、平均、中位数、最大值、最小值、标准差、方差、去重计数、记录个数、累计值、升序排名、降序排名
|
| 文本字段 | 去重计数、记录个数、字符串拼接
|
| 日期字段 | 去重计数、记录个数、最早时间、最晚时间、升序排名、降序排名
|




