1. 概述编辑
1.1 版本
| FineBI 版本 | 功能变动 |
|---|---|
| 5.1 | - |
| 5.1.13 | 直连:新增支持「Hadoop Hive数据库」中的数据表与 Excel 上下合并 |
1.2 应用场景
上下合并产生的是联合结果集,即 SQL 语句中的 union all
可能存在这样的情况:一家公司由于历史原因,把订单信息分开存储在了多个地方,不同分公司独立存储,导致信息并不通畅。那么在FineBI中就可以使用上下合并将数据表拼接成一个,把所有订单信息协调在一起。
效果如下图所示:

上下合并的示例应用场景请参见:多指标合并进行占比分析
1.2 直连相关
直连表和 Excel 上下合并
在直连版本中,有四种数据库「Microsoft SQL Server 2016、Oracle、Pivotal Greenplum Database、Hadoop Hive」支持数据表与 Excel 进行上下合并,其余数据库不支持。
在进行上下合并前需要将 FINE_CONF_ENTITY 表中SystemOptimizationConfig.excelExtractDataBase的字段值改为「true」,如何修改详细请参见:FINE_CONF_ENTITY可视化配置
在直连版本中,进行上下合并的两张表不能来自不同的数据连接。
否则合并后报错:[DIRECT-ETL] unsupported data source: databases on different hosts/ports
2. 示例编辑
示例数据下载:签约表示例数据.rar
某公司它上海、深圳、北京的数据分别存在三张表中,不方便分析。可以使用「上下合并」功能将其合并到一起。
1)下载示例数据后将其上传至 FineBI ,如下图所示:

2)添加一个新的自助数据集,先勾选「签约表-上海」的所有字段,如下图所示:

3)接下来就需要与深圳和北京的字段合并,添加上下合并,如下图所示:

4)选择「签约表-北京、签约表-深圳」作为要合并的表。如下图所示:
注:不能选择当前表的子表作为要合并的表。

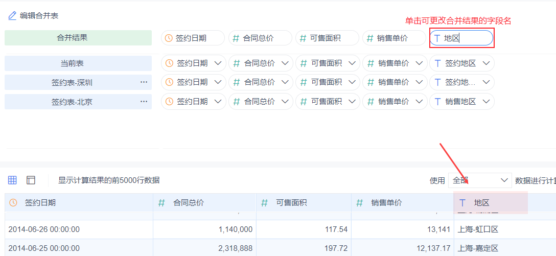
5)进入上下合并配置界面,字段名一致的系统会将其自动匹配;字段名不一致,系统会将其认为是不同字段。

6)在本示例中,这三个字段虽然字段名不一致,但是都是地区字段。手动调整为一个字段即可,如下图所示:

如此便将上海、深圳、北京的数据合并到一张表中了,方便之后进行分析。
3. 其他功能补充编辑
3.1 选择要合并表的部分字段
默认添加要合并表的所有字段,但用户可以通过「...」选择部分字段,如下图所示:

3.2 更改合并后的字段名
在合并结果集字段处单击字段,可以对字段进行重命名操作,如下图:

3.3 编辑合并表
点击「编辑合并表」可以回到选表界面,重新选择需要合并的表。如下图所示:


