1. 概述编辑
1.1 版本
| FineDataLink 版本 | 功能变动 |
|---|---|
| 4.1.1 | 「操作日志」表格的模块字段中,新增数据管道、数据开发、数据服务模块 |
| 4.1.5.4 | 新增「用户行为」Tab |
1.2 应用场景
FineDataLink 支持分级授权,管理员需要确定谁在何时对 FineDataLink 进行了何种管理操作,用于追踪和排查异常管理操作,确保系统的安全性。
部分用户的日志、系统环境信息因为种种原因难以获取,耗费时间较大。
1.3 功能简介
管理员登录 FineDataLink ,选择「管理系统>智能运维>平台日志」,如下图所示:
用户行为:可查看用户的注销、登录、超时登出、保持登录行为。
操作日志:记录超管/次管在何时对 FineDataLink 进行了何种操作,并支持查询特定条件下的管理记录以及一键导出管理日志。
系统日志:管理员可按照「操作时间」和「日志类型」筛选导出日志文件,并支持一键查看日志文件存储位置以及导出工程环境信息。

2. 用户行为编辑
用户行为 Tab 下,可筛选用户的注销、登录、超时登出、保持登录行为。如下图所示:

3. 操作日志编辑
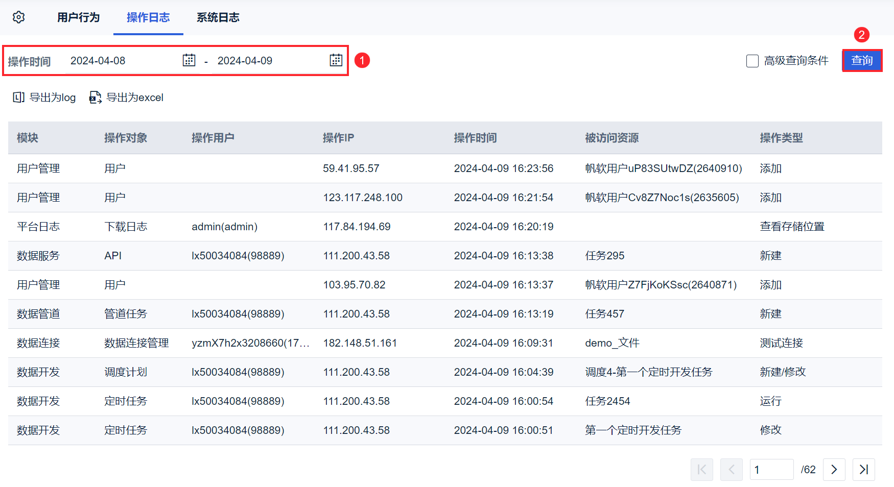
操作日志 Tab 下,可选择操作日志的操作时间范围,支持「年月日」和「动态时间」。
点击「查询」,即可查看平台管理记录,记录项包括:模块、操作对象,操作用户、操作IP、操作时间、被访问资源、操作类型。如下图所示:

操作类型包含:
| 模块 | 功能 | 操作 |
|---|---|---|
| 目录管理 | 节点/模板/链接/上报标签/管理首页 | 添加/更新/删除 |
| 用户管理 | 全局设置/用户/部门/部门下职位/职位/职位下人员/角色/角色下人员/平台使用用户/移动平台用户/清空所有用户 | 添加/更新/删除 |
| 权限管理 | 全局设置/权限设置/权限复用 | 添加/更新/删除 |
| 外观配置 | 登录页/平台主题/平台样式/目录样式/报表样式 | 更新/切换/打开/关闭 |
| 附件 | 附件上传 | 添加 |
| 系统管理 | 登录/常规/打印/短信/邮箱/登录锁定 | 打开/关闭/更新/锁定/解锁 |
| 备份还原 | 全局配置/平台配置/报表模板/jar包/插件/更新升级 | 打开/关闭/添加/更新/删除/还原 |
| 平台日志 | 日志设置/访问明细/用户行为/模板热度/性能监控 | 更新/导出 |
| 负载管理 | 智能预警/内存会话/智能释放/模板限制/生命周期 | 结束/更新 |
| 集群配置 | 状态服务器/文件服务器/MQ内置/缓存模式 | 测试/更新 |
| 宕机处理 | dump解析/端口设置 | 执行/测试 |
| 磁盘运维 | 磁盘清理/磁盘检测信息 | 更新/查找/执行 |
| 数据连接 | 数据连接管理/服务器数据集/数据集 | 预览/添加/更新/删除/测试连接 |
| 智能运维 | 健康巡检/巡检报告 | 执行/下载日志 |
| 资源迁移 | 资源导入/资源导出 | 导入/导出 |
| 安全管理 | sql防注入/全局水印/数据脱敏 | 打开/关闭/更新/启用/禁用/添加 |
| 注册信息 | - | 更新 |
| 定时调度 | 定时任务/全局设置 | 添加/更新/删除 |
| 多级上报 | 上报流程/上报任务 | 添加/更新/删除 |
| 移动平台 | 移动平台/授权设备/二维码配置 | 打开/关闭/更新 |
| 地图配置 | 地理信息 | 更新/导入 |
| 模板认证 | 全局设置/权限设置 | 打开/切换/关闭/更新/添加/删除 |
| 远程设计 | 权限设置 | 更新 |
| 插件管理 | - | 安装 / 删除 / 启用/ 禁用 / 更新 |
| 数据管道 | 管道任务 | 新建 / 修改 / 删除 / 启动 / 暂停 / 导出脏数据 |
| 数据开发 | 定时任务 | 新建 / 修改 / 删除 / 运行 / 终止 |
| 调度计划 | 新建 / 修改 / 删除 / 开启 / 关闭 | |
| 数据服务 | API | 新建 / 修改 / 删除 / 上线 / 下线 |
| 应用 | 新建 / 修改 / 删除 |
如需查询特定设置条件下的平台管理记录,勾选「高级查询条件」,选择查询条件后点击「查询」即可。如下图所示:

查询后,管理员可导出日志文件,如下图所示:
点击「导出为log」按钮可导出 .txt 格式,点击「导出为excel」可导出 .xls 格式。
注:最多只可导出1W条日志数据。

4. 系统日志编辑
注:集群环境下,页面右上角有集群选择框,管理员可以直接选择集群节点进行下载相应节点日志。
通过「系统日志」:
1)管理员可以按照「操作时间」和「日志类型」筛选导出日志文件。
2)管理员可以一键查看日志文件存储位置。
3)管理员可以一键获取并导出工程环境信息。
4.1 操作时间
管理员可选择需要下载的日志内容的操作时间范围,支持「年月日」和「动态时间」。若日期超出当前存在的日志文件范围,则仅下载现有文件。
年月日:支持直接选择具体的年月日,例如 2020-01-01。
动态时间:支持根据当前时间推算一个日期,例如今天之前一季度的季初。

4.2 日志类型
插件支持导出两种类型的日志:fanruan.log、gc.log。
Tomcat 部署下额外支持导出 4 种类型的日志:catalina.out、catalina.log、access.log、BIEvent.log 。如下图所示:

点击「一键下载」,解压下载的压缩包,例如导出的fanruan.Log日志内容如下图所示:

4.3 查看存储位置
点击「查看存储位置」按钮,可查看各种日志的存储位置。如下图所示:

4.4 导出环境信息
点击「一键导出」按钮,即可导出环境信息。如下图所示:
注:集群环境下,页面右上角有集群选择框,管理员可以自行选择需要下载日志的具体节点。
导出的文件格式为xml,内容如下表所示:


| 类别 | 说明 | 示例 |
|---|---|---|
| jar版本 | 当前客户服务器系统使用的jar包版本 | 2023-11-13 |
| 操作系统 | 当前客户服务器所用操作系统及其版本 | Windows 10 |
| 分配内存 | 当前配置的最大堆内内存 | 2G |
| 部署方式 | 当前部署的web容器类型及其版本 | Tomcat8.0/Jboss7.0 压缩部署/非压缩部署 |
| 是否FRBI集成 | 是否为FRBI集成环境 | 是/否 |
| JDK版本 | 当前应用所使用的JDK版本 | 1.8.0_181 |
| 内置库是否迁移 | 判断当前内置库是否迁移外置库 | 是/否 |
| 迁移数据库类型 | 外置数据库迁移类型 | oracle 11g |
注1:Mac设计器无法获取部署方式,显示为unkown。
Windows/Linux设计器获取的部署方式是tomcat。
注2:支持获取的部署容器种类如下,其他不支持的均返回unknown
GERONIMO("geronimo")
GLASSFISH("glassfish")
JBOSS("jboss")
JETTY("jetty")
JONAS("jonas")
OC4J("oc4j")
RESIN("resin")
TOMCAT("tomcat")
WEBLOGIC("weblogic")
WEBSPHERE("websphere")
WILDFLY("wildfly")
UNKNOWN("unknown")


