1. 概述编辑
1.1 应用场景
在实际业务场景中,有时候需要展示每天、每周、每月的销售额等等,通过对比,找出销售情况是否有波动。
本文用销售数据来演示,动态的展示前一天/前一周/前一月的销售情况。

1.2 实现思路
新增字段,使用条件赋值功能分别获取「前一天」、「前一周」、「前一月」的数据;
添加时间类型的动态字段,绑定「前一天」、「前一周」、「前一月」三个字段;
使用动态字段制作图表;
在仪表板中添加动态字段筛选器绑定动态字段。
2. 示例编辑
本文示例需要使用动态数据,故不提供示例数据,请使用自己的数据表,数据表中包含近1月数据即可。
2.1 创建分析表
点击「新建」,再选择「分析表」。如下图所示:

2.2 获取前一天的数据
接下来要使用「条件赋值」功能新增三个字段,分别展示前 1 天/前 7 天/前 30 天的数据。
1)先添加「分类汇总」步骤,将「日期」拖入分类栏,将「消费」拖入指标栏,计算每天的消费总额,如下图所示:

2)点击「条件赋值」,如下图所示:

3)想要动态展示前一天的日期,可以设置「日期」字段属于动态时间「一天前」,那么就会自动获取当天前一天的日期。如下图所示:

4)赋值条件:如果「日期」属于动态时间「一天前」,那么就展示「一天前」的值。如下图所示:

5)当天时间为 2025-03-17,那么前一天的日期就是 2025-03-16,如下图所示:

2.3 获取前一周的数据
1)同样,使用「+>新增字段>条件赋值」获取前一周的日期。
设置条件,「日期」介于动态时间「一周前 - 一天前」,动态展示日期当天一周前的日期。如下图所示:

2)赋值条件:如果「日期」介于动态时间「一周前 - 一天前」,那么就还是该日期。如下图所示:

3)当天时间为 2025-03-18,那么前一周的日期就是 2024-03-11 至 2024-03-17,如下图所示:

2.4 获取前一月的数据
1)同样,使用「+>新增字段>条件赋值」获取前一月的日期。
设置条件,「日期」介于动态时间「一月前 - 一天前」,动态展示日期当天一月前的日期。如下图所示:

2)赋值条件:如果「日期」介于动态时间「一月前 - 一天前」,那么就还是该日期。如下图所示:

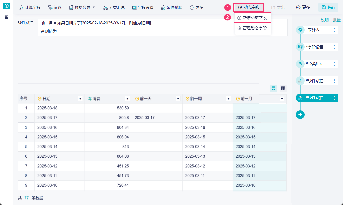
3)当天时间为 2025-03-18,那么前一月的日期就是 2025-02-18 至 2025-03-17。
2.5 添加动态字段
1)已经获取到「前一天」、「前一周」、「前一月」的字段了,接下来增加一个动态字段。如下图所示:

2)新增一个「时间」类型的动态字段,绑定「前一天」、「前一周」、「前一月」三个字段,如下图所示:

2.6 制作图表
1)制作一个折线图,将「动态时间」字段拖入维度栏,将「消费」字段拖入指标栏,如下图所示:

2)「前一天」、「前一周」、「前一月」字段中还存在空值,将「动态时间」字段拖入筛选栏,设置条件为:非空。如下图所示:

2.7 制作仪表板
1)在仪表板中拖入制作的折线图,再添加一个「按钮组」控件,如下图所示:

2)控件绑定上面添加的动态字段「动态时间」,点击「确定」,如下图所示:

3)那么会显示三个按钮展示「前一天」、「前一周」、「前一月」字段,如下图所示:

3. 效果展示编辑
预览仪表板,点击按钮可以切换展示「前一天」、「前一周」、「前一月」的数据,如下图所示:


