您当前的位置:
数跨境帮助文档
>>
追加替换数据
>> 历史版本
历史版本3 :追加替换数据
返回文档
编辑时间:
08-31 11:00
历史版本:
最新历史版本
上一篇历史版本
下一篇历史版本
内容长度:
373
图片数:
4
目录数:
0
修改原因:
修正错误
一、点击右上角的更新Excel按钮,选择确定
二、点击重新上传按钮,可以替换已经上传的Excel数据
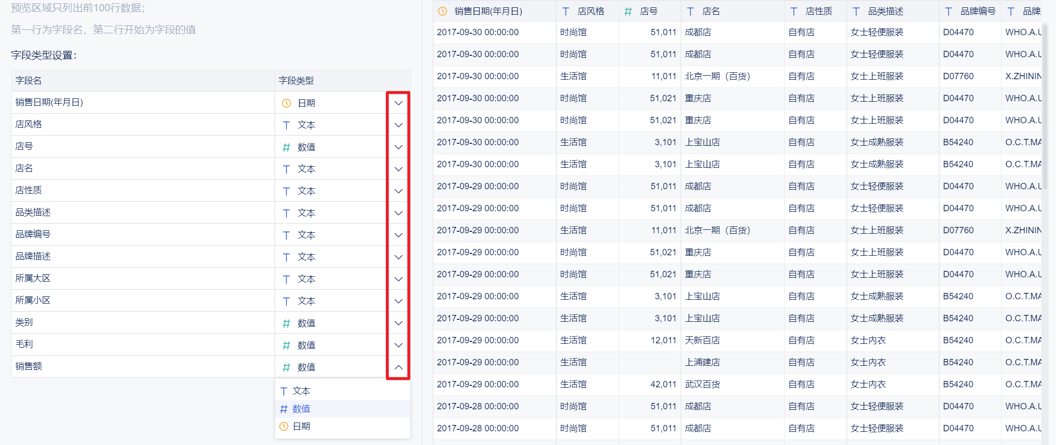
三、字段类型设置可以调整上传的数据格式。
四、点击右上角的确定按钮,完成Excel更新操作