1.背景编辑
在任何一个企业中,供应链管理的数据流程都是环环相扣,往往是牵一发而动全身。

而采购作为供应链的端口,可以说是重中之重。但目前,各行业内的采购管理普遍存在一些难点、痛点:
采购过程监控难:出现采购监控盲点,各部门信息互不相通。
供应商管理难:缺乏统一的供应商管理体系,资质认证不规范,供应商管理风险大。
2. 解决方案编辑
保障供应链正常运转:物料或货物及时到位,满足当前生产经营。
建立供应商资源池体系:解决产能问题,保障下游经销商出货销售能力。
为此,帆软推出了采购解决方案,采用“自上而下”的思路,面向采购链条上不同层级的角色,提供对应的管理/分析模板:

2.1 采购综合管理
2.1.1 采购综合分析看板
适用场景:
该看板面向企业决策层,可以做到:采购全流程效率监控+重点模块独立分析,帮助决策者进行采购流程全面把控,并明确责任模块、释放管理压力。
内容说明:
节点情况:对采购流程中各个节点处理情况实时监控,保证高效流转,避免等待时间长、节点权责不清。
消耗情况:掌握物料消耗情况和剩余物料周转天数,从采购侧提高存货效率,保持产能和成本之间的合理平衡。
预算分析:通过对各月份采购预算和实际采购的对比分析,监控实际采购行为是否有偏差,判断预算编制是否合理。
降本分析:对物料降本情况整体把控,定量考核采购成本,指导下一步采购动作。
来料情况:通过来料直通率反映供应商交货质量情况,选择更优质的供应商,保证生产所需。

2.2 供应商管理
2.2.1 供应商管理看板
适用场景:
区别于决策层的全面管控,管理层更偏向于业务流程的执行监控。本看板面向管理层,从供应商交货情况、供应商自身风险情况这两方面进行监控,辅助管理层实现对物资采购质量的精准把控,对异常情况及时排查。
内容说明:
交货情况:分别从时间维度和供应商维度分析采购物料情况,监控采购风险,避免造成采购坏账、影响企业正常运营和生产。
状态分布:显示企业当前供应商的状态结构,适时调整各类供应商组成,保证供应商资源池健康。
风险等级分析:通过分析供应商高/中/低的风险情况,及时评估风险、采取应对措施,降低损失。
风险类别分析:从失信风险、司法风险、股权变化风险、经营风险、关联风险五个维度,动态评估供应商的风险情况。

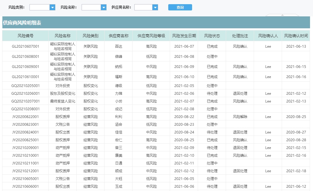
2.2.2 供应商风险明细分析
适用场景:
面向管理+执行层,在上述供应商风险管理看板中,我们可直接下钻至供应商风险明细表,实现供应商风险预警可视化。
内容说明:
面向执行层,可以通过风险类别、供应商名称以及风险名称三个筛选维度,进行供应商风险信息的详细查询,并关注自己提出的风险信息的处理结果,实现流程优化。 面向管理层,可通过风险信息状态看到哪些风险信息的审批流程需要处理,点击明细表的风险编号,可直接跳转至供应商风险信息审批表进行审核

2.2.3 供应商风险补录与审批
适用场景:
面向管理+执行层,执行层可对供应商风险信息及时上报,管理层对风险供应商及时处理,提高供应商管理效率。
内容说明:
面向执行层:录入供应商风险信息,系统自动生成风险编号,提交完成后,风险信息状态默认为:处理中,并流转至管理层处理。

面向管理层:收到风险信息后,管理层可以对基础信息进行审核。如确认,则风险信息状态转变为“已完成”;如退回,则状态变为“待处理”,再次流转至执行层重新确认;


