1. 概述编辑
1.1 版本
| BI服务器版本 | 用户中心插件版本 |
|---|---|
| 6.0 | V1.0.0 |
1.2 功能简介
本文将简单介绍用户中心插件的使用方式。
2. 登录用户中心编辑
用户登录FineBI系统后,进入用户中心介绍页,用户可以在此页了解用户中心相关功能。

点击「立即使用」按钮,跳转至帆软通行证登录页,登录帆软通行证,即可正常使用用户中心功能。如下图所示:
注:「帆软通行证」是用于访问帆软社区的账号,与登录FineBI系统的账号不同,新用户请直接注册。

3. 界面概览编辑
用户中心界面分为四个部分:成长中心、运营中心、我的主页、服务中心。如下图所示:

内容简介如下表所示:
| 内容 | 面向对象 | 简介 |
|---|---|---|
| 成长中心 | FineBI系统全体用户 | 提供不同的成长路径,帮助用户学习FineBI 推送FineBI最新动态、推荐阅读内容、热门活动 展示用户在帆软学堂的学习内容和学习进度 快速搜索帆软在线帮助文档,快速跳转更多学习资源 |
| 运营中心 | FineBI系统超级管理员 | 活跃度监控:查看FineBI系统活跃度、部门生命周期、部门活跃度、用户活跃度 流失监控:查看FineBI系统存在流失风险的用户 管理:查看超管通行证绑定的企业,查看技术支持服务状态,发布系统公告 |
| 我的主页 | FineBI系统全体用户 | 管理当前登录用户的帆软通行证 查看系统管理员发布的公告 |
| 服务中心 | FineBI系统全体用户 | 快速接入帆软技术支持,支持「自助工单」和「人工服务」 |
注:若用户中心界面中英文混杂,显示异常。请打开浏览器设置,将语言设置为 中文(简体),清理缓存后,刷新页面即可。

4. 成长中心编辑
4.1 成长路径
根据用户不同使用角色,提供不同的学习路径。
1)分析用户
业务分析用户的成长路径分为三步,循序渐进。
| 成长路径 | 简介 |
|---|---|
| 基础入门 | 新手入门 1)了解FineBI的各项功能 2)新手常见问题 3)跟随简单示例,学习使用FineBI分析 |
| 进阶成长 | 功能点深入学习 1)功能专题:表格、图表、组件交互、仪表板美化 2)数据专题:数据分析、函数运用 |
| 行业应用 | 行业案例实操 1)学习不同行业真实案例,汲取分析思路 2)官方DEMO持续更新多种仪表板,包含:数据分析模型、行业分析案例、业务场景应用、功能使用示例 |

2)管理员
管理员的成长路径分为三块,多角度并进。
| 成长路径 | 简介 |
|---|---|
| 平台运维 | 帮助管理员搭建FineBI系统,实现全流程运转 |
| 平台推广运营 | 将FineBI系统推广给公司内的业务人员进行运用 |
| 日常运维 | 系统平稳上线后,管理员对FineBI系统的日常维护 |

4.2 内置搜索
用户可以直接在成长中心右上角处的搜索框内输入关键词,检索帮助文档、问答以及论坛活动等资源。

4.3 资源推荐
1)产品动态:用户可以在产品动态模块获取版本变更、新功能、新活动等资讯。
2)推荐阅读:结合用户行业、岗位、能力阶段等特征,个性化推送优秀文章供用户学习与提升分析能力。

4.4 我的成长
用户可以查看个人信息、资源名称、学习进度,通过筛选高效管理自己的学习安排。

4.5 活动入口
帆软官方提供了丰富的社区活动,用户可以通过入口参与当前正在火热进行的活动,与更多数据分析用户进行交流。

4.6 更多学习资源
用户中心提供更多学习资源的跳转入口,帮助用户了解更多FineBI相关知识。

5. 我的主页编辑
我的主页包括两部分内容:
1)个人信息:可查看当前登录用户的FineBI系统账号,查看当前登录用户的帆软通行证账号,退出用户中心登录。
2)用户中心公告:查看管理员通过用户中心发布的最新公告。
注:管理员发布公告的方式,请参见第七章。

6. 服务中心编辑
服务中心主要为用户提供帆软官方的技术支持服务。
用户在使用FineBI系统过程中,存在产品疑问、功能使用、场景实现等问题需要官方技术支持服务时,可以直接点击「服务中心」按钮,即可在新标签页进入技术支持会话区域进行提问。
技术支持同事会收集您的相关信息用于识别所在企业的合作状态,所有信息仅用于技术支持服务,请您放心。

7. 运营中心编辑
注1:运营中心仅超级管理员可见。
注2:若运营中心的数据看板为空,是由于该看板数据依赖云端运维功能。详情请参见:云端运维使用步骤。
运营中心的主要作用是利用多维数据看板,帮助管理员量化BI系统的活跃和用户流失情况。
运营中心分为三个模块:活跃度监控、流失监控、管理。
7.1 活跃度监控
活跃度相关指标说明如下:
1)生命周期
| 指标 | 说明 | 定义 |
|---|---|---|
| 导入期 | 用户未达到大于5次编辑使用的业务分析用户角色的标准 | 近3月均编辑次数≤5 |
| 新手期 | 用户刚开始使用FineBI 用户自助数据集的处理能力较弱 用户只会通过简单加工/已加工的数据表创建仪表板 用户只会用FineBI制作简单的图表,比如分组表、明细表、饼图等 | 累计编辑次数≤100,且累计编辑月份数≤=4 |
| 成长期 | 用户使用FineBI有一段时间 用户能够制作较为复杂的图表 用户需要通过帮助文档/外部指导等才能完成更加灵活的分析诉求 | 累计编辑次数>100,或累计编辑月份数>4 |
| 成熟期 | 用户可以灵活独立完成自己的分析诉求 用户可以制作复杂的图表 用户使用FineBI进行数据分析时间达到一年以上 | 累计编辑次数>200,或累计编辑月份数>10 |
| 已流失 | 用户长时间没有在BI中有过任何编辑行为 | 近3月的月编辑月份数=3,且近60天内没有编辑行为 或 近3月的月编辑月份数<=2,且近120天没有编辑行为 |
2)活跃度
| 数值 | 说明 |
|---|---|
| 平台访问用户数 | 筛选时间范围内,在BI系统中有查看或编辑行为的用户去重数量 |
| 编辑用户数 | 筛选时间范围内,在BI系统中有编辑行为(数据集、组件、仪表板)的用户去重数量 |
| 分析师数 | 分析师定义:近30天,仪表板编辑次数 ≥15次的用户 分析师数:筛选时间范围内,符合分析师定义的用户去重计数 |
| 新查看用户数 | 筛选时间范围内,出现首次查看仪表板行为的用户数量 |
| 新分析用户数 | 筛选时间范围内,出现首次编辑仪表板行为的用户数量 |
7.1.1 系统活跃度
系统活跃度以指标卡+折线图的形式,介绍系统不同类型的用户行为次数。
管理员可筛选查看的时间范围,可将详细数据导出为Excel到本地。
管理员可点击右上角「进入平台日志查看用户行为明细」,进入「管理系统>平台日志>访问统计」页面查看访问明细。

7.1.2 部门活跃度
部门活跃度以饼图+明细表的形式,展示不同部门的不同类型用户的行为次数。
管理员可筛选部门查看部门活跃度,排名将依据活跃用户数量由大到小排序,可将详细数据导出为Excel到本地。
指标说明如下表所示:

7.1.3 用户活跃度
用户活跃度以明细表的形式,展示每个用户的生命周期和行为次数。
管理员可筛选部门、用户、生命周期查看用户活跃度,排名将依据用户活跃程度由高到低排序,可将详细数据导出为Excel到本地。

7.2 流失监控
流失相关指标说明如下:
| 指标 | 定义 |
|---|---|
预流失低风险用户 | 超过12天没有编辑行为 |
| 预流失高风险用户 | 超过30天没有编辑行为 |
| 高频编辑用户流失 | 高频编辑用户定义:近3月的月编辑月份数=3 高频编辑用户流失定义:高频编辑用户近60天没有编辑行为 |
| 低频编辑用户流失 | 低频编辑用户定义:近3月的月编辑月份数≤2 低频编辑用户流失定义:近120天没有编辑行为 |
7.2.1 流失预警
流失预警以指标卡展示,统计所有预流失高风险用户数量,即超过30天没有编辑行为的用户数量。

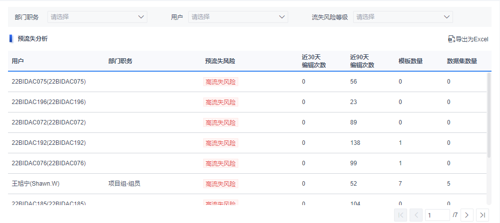
7.2.2 预流失分析
预流失分析以明细表形式展示,展示每个预流失用户的预流失分析和行为次数。
管理员可筛选部门、用户、流失风险等级查看,排名将依据用户流失风险程度由高到低排序,可将详细数据导出为Excel到本地。

7.2.2 流失分析
流失分析以明细表形式展示,展示每个流失用户的行为次数和上次操作时长。
管理员可筛选部门、用户查看,排名将依据用户最后一次编辑日期由远到近排序,可将详细数据导出为Excel到本地。

7.3 管理
7.3.1 企业管理
1)最上方展示超管帆软通行证绑定的企业信息,若超管帆软通行证未进行组织认证,建议完成组织认证,解锁更多服务平台权益。
2)超管可将当前FineBI系统绑定超管帆软通行证的企业信息,用户从服务中心接入技术支持时即可自带企业信息,方便技术支持人员为合作客户提供服务。
3)超管可设置本公司的行业标签,方便根据行业推送更适合您的学习资料。

7.3.2 公告管理
管理员可编辑和发布用户中心公告,公告将会在「用户中心>用户中心公告」中向所有用户展示,内容支持插入链接。


