1. 概述编辑
1.1 版本
| FineDataLink 版本 | 功能变动 |
|---|---|
| 4.0.27 | 支持批量设置任务调度计划 |
| 4.0.30 |
|
| 4.1.4 |
|
1.2 功能简介
调度计划页面有两个 Tab,分别为「定时调度」和「事件调度」。
注:「调度计划」处设置的调度,暂不支持在 资源迁移 中导出。
可在「定时调度」Tab 中为多个/单个定时任务设置执行频率、修改和删除任务的执行频率。
「事件调度」Tab 中,可为多个/单个定时任务设置事件调度、修改和删除任务的事件调度。
支持自定义调度日历。

2. 功能说明编辑
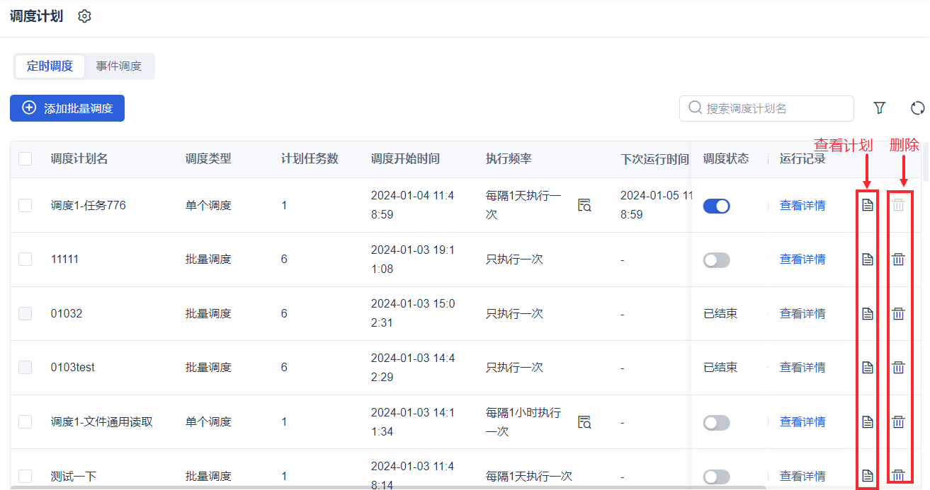
2.1 调度计划概览
「调度计划」页面展示所有已配置的调度及配置详情。如下图所示:

2.2 查看调度运行详情
2.2.1 查看定时调度运行详情
「定时调度」 Tab 下点击「查看详情」按钮,可查看配置该调度的定时任务的运行情况。如下图所示:

2.2.2 查看事件调度运行详情
1)「事件调度」Tab 下,展示所有已配置的事件调度详情。如下图所示:

2)点击「查看详情」按钮,可查看配置该事件调度的定时任务的运行记录。如下图所示:

2.3 自定义调度日历
应用场景:
金融行业的工作日和法定工作日有差异,用户希望获得适合自身需要的调度周期。
用户希望法定节假日不执行定时任务。
「调度计划」中支持自定义调度日历。
1)按照下图步骤新建调度日历。如下图所示:

2)点击「新建」按钮后,设置调度日历名称,上传日历模板。如下图所示:
注:示例文件为 2024 年的节假日。

点击右下角「确定」按钮,最终界面如下图所示:

| 设置项 | 说明 |
|---|---|
| 调度日历名称 | 不可重名;任务名不可包含:?*:<>|"\/ |
| 上传文件 | 1)支持上传 csv 文件解析日历,示例文件:csv文件.zip
2)下载模板按钮:点击可下载调度日历文件 |
| 编辑、删除日历 | 支持修改调度日历名称、重新上传调度日历文件修改调度日历 支持删除调度日历:
|
| 日历状态提醒 | 1)调度日历已过期:今日大于最晚调度日且今日-最晚调度日大于1天
2)调度日历即将过期:最晚调度与今日间隔<=7天
|
3)可将定时任务的执行频率设置为调度日历。如下图所示:

2.4 新增调度计划
2.4.1 新增定时调度计划
注:每个调度计划中最多可以添加 1000 个任务。
1)点击「添加计划」按钮,可为单个/多个定时任务设置定时调度,可引用本文 2.3 节添加的调度日历。如下图所示:
注:各设置项介绍请参见:定时调度

2)添加成功后,界面如下图所示:

2.4.2 新增事件调度计划
点击「添加计划」按钮,可为单个/多个定时任务设置事件调度。如下图所示:
注:一个定时任务只能配置一个事件调度。

各设置项介绍可参见:事件调度
2.5 修改、删除调度计划
修改调度计划:点击「查看计划>编辑」按钮即可。
删除调度计划:关闭「调度状态」按钮,点击「删除」按钮即可。
注:用户若拥有某个调度计划下部分定时任务的管理权限,则仅支持查看该调度计划;若拥有某个调度计划下全部定时任务的管理权限,则支持编辑调度计划。

2.6 筛选调度计划
点击「筛选」按钮,设置筛选条件后,可筛选出需要的调度计划。
1)筛选定时调度:

2)筛选事件调度:

2.7 批量开启/关闭调度
2.7.1 批量开启/关闭定时调度
1)选择定时任务后,点击批量开启/批量关闭按钮即可。如下图所示:

说明如下:
支持一键全选当前页,执行批量开启/关闭操作。
选择的任务中,若调度状态全部开启,「批量开启」按钮灰化;若调度状态全部关闭,「批量关闭」按钮灰化。
调度状态「已结束」的定时任务不能选择。
使用覆盖逻辑,即开启状态的调度计划继续开启,开启已关闭的调度计划。
2)示例:选择多个定时任务后,点击「批量关闭」,会将关闭结果告知用户。如下图所示:

2.7.2 批量开启/关闭事件调度
如下图所示,具体说明请参考本文 2.7.1 节内容。




