历史版本3 :分类汇总 返回文档
编辑时间: 内容长度:图片数:目录数: 修改原因:

 

目录:

1. 概述编辑

1.1 应用场景

例如,用户有一张合同签单表,想将合同类型分为「长期订单」和「短期订单」,并统计每年两种合同类型的合同金额有多少。


1.2 功能简介

「分类汇总」是指对原始数据根据条件将相同的数据先合并到一组,然后按照分组后的数据进行汇总计算。

E数通中通过添加「分类汇总」的步骤,并设置分组字段和汇总字段实现。


2. 操作步骤编辑

示例数据:合同事实表.xlsx

2.1 上传数据

1)下载示例数据,并 上传 到E数通,点击「创建分析表」,如下图所示:


2.2 添加「分类汇总」步骤

1)添加「分类汇总」步骤,将「合同签约时间」和「合同类型」字段拖入分类栏,将「合同金额」拖入汇总栏。字段较多时,可在搜索栏中搜索字段,如下图所示:


2.3 设置分类方式

2.3.1 对「合同签约时间」按照年份分组

点击字段下拉,对「合同签约时间」 选择「年」分组方式,如下图所示:


2.3.2 将「合同类型」自定义分为「长期订单」和「短期订单」两组

1)选择「合同类型」进行「自定义分类」,如下图所示:


2)点击「添加分类」并重命名为「长期订单」,如下图所示:


3)选择「长期协议订单」和「长期协议」,点击「移动至」,将其移动至「长期订单」分组下,如下图所示:

4)勾选「未分类的值分到」,输入分组名为「短期订单」,点击「确定」,则分组成功,如下图所示:

5)设置分组后的效果如下图所示:

2.4 设置汇总方式

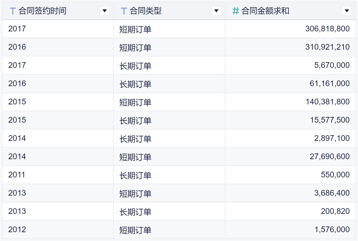
1)点击字段「下拉」,对「合同金额」 选择「求和」汇总方式,得到每年不同订单的「合同金额」汇总求和值。如下图所示:

2.5 效果查看

3. 分类汇总设置项说明编辑

3.1 分类字段

字段支持添加「文本字段」、「数值字段」、「时间字段」,均支持重命名、删除字段操作。

字段类型
支持分组方式说明
文本字段

相同值为一类

按照文本字段中的相同值分类

自定义分类

对文本包含的字段中自行定义分类
数值字段

相同值为一类

按照数值字段的相同值为一类

区间分类

对数值内容自定义区间分类

时间字段支持多种时间分类类型包括年月日、年周数、年月、年季度、年、季度、月份、月日、周数、星期、日、时、秒、分、年月日时分秒

3.2 汇总字段

汇总字段支持添加「文本字段」、「数值字段」、「时间字段」,默认不填入字段,均支持重命名、删除字段操作。

字段类型支持汇总方式
说明
文本字段
  • 去重计数

  • 计数

  • 第一项

  • 最后一项

  • 去重拼接

  • 同期/环期

  • 去重计数是指将该字段中相同的值只统计一次,即统计不同值的个数

  • 计数是指记录该字段有多少数据

数值字段
  • 求和

  • 平均值

  • 中位数

  • 最大值

  • 最小值

  • 去重计数

  • 计数

  • 标准差

  • 方差

  • 第一项

  • 最后一项

  • 同期/环期

  • 其中,一些计算的具体内容可参考对应文档:环比计算 、累积值计算 、排名计算

  • 将去重依据字段放在分类框,其余字段放到汇总框,选择第一项/最后一项,可达到删除部分重复数据的效果,可参见文档:删除重复数据

时间字段
  • 去重计数

  • 计数

  • 最早时间

  • 最晚时间

  • 第一项

  • 最后一项

  • 去重计数是指将该字段中相同的值只统计一次,即统计不同值的个数

  • 计数是指记录该字段有多少数据

  • 最早时间和最晚时间指的是分组内的最早、最晚时间。

4. 去重拼接编辑

4.1 示例

在一张工资明细中,有各员工的工资情况说明及金额,想要汇总各员工的工资情况,并展示总的情况说明。可使用「去重拼接」来显示。

1)我们还是使用「合同说明表」,在分类汇总中,将「姓名编码」字段拖入「分类栏」,按照姓名进行分类。将「合同类型」和「合同金额」字段拖入汇总栏,如下图所示:

2)将合同付款类型进行拼接,点击字段下拉,选择「去重拼接」,如下图所示:

3)可选择拼接的符号,例如制表符、分号、逗号、空格或者自定义符号,这里自定义一个符号 & 。如下图所示:

4)如果选择自定义符号 &,效果如下图所示:


4.2 其他说明

4.2.1 说明一

按照姓名进行分组:

  • 组内存在多个相同值时,对结果进行去重后再拼接。B 有两个绩效的数据,但是拼接后只显示一个;

  • 拼接后的顺序,在组内自上而下取值。B 的类型从上到下为绩效、绩效、底薪,拼接后的顺序就为 绩效&底薪;A的类型从上到下为 底薪、绩效、奖金,拼接后的顺序就为 底薪&绩效&奖金;

4.2.2 说明二

如果去重拼接后的字符数超过 100w(如果全是中文的话,超过 50w),那么就会报错,返回异常值 #VALUE!

5. 空数据分类汇总时如何显示编辑

1)当分析表中数据为空且仅有指标汇总的时候,计算方式为计数、去重计数时展示为 0,其他的计算方式均展示为空 。这样可以准确地反映数据为空的真实情况。


2)在这种情况下,其他计算方式若想要展示为  0 ,可通过 条件赋值 实现。