历史版本2 :仪表板配置行权限 返回文档
编辑时间:
内容长度:图片数:目录数:
修改原因:
1. 概述编辑
1.1 应用场景
当公司或者部门存在树状的层级关系,每个层级想要分配不同的权限。
比如主管、部门组长、部门组员之间存在树状关系,想根据不同的职级分配不同的权限,看到的数据范围不同。
比如主管可看到部门的所有数据,组长只能看到对应组别的数据,各个成员只能看到自己的数据。

1.2 实现思路
在企业成员中先配置用户属性,给成员增加「部门」、「小组」、「职位」的属性;
管理员制作好仪表板,在仪表板中根据不同的层级配置权限;
1.3 实现效果
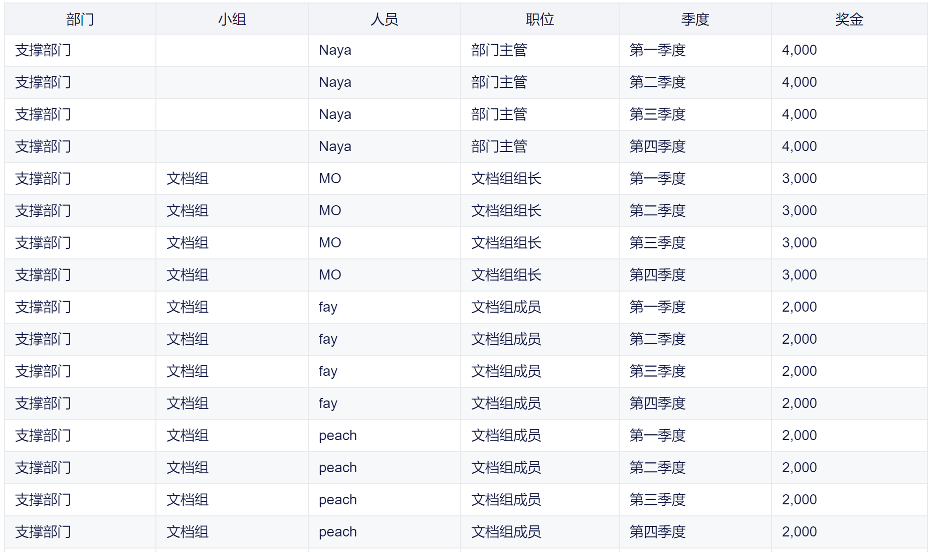
部门主管 Naya,可以看到该部门的所有数据;
文档组组长 MO,可看到文档组的所有数据;
测试组组长 Carly,可看到测试组的所有数据;
其他小组组员只能看到自己的数据。
数据表的部分数据如下图所示:

2. 添加用户属性编辑
3. 仪表板中配置权限编辑
1)在项目中制作好仪表板,在仪表板编辑界面点击「配置权限」按钮进行设置,如下图所示:

2)点击「添加权限条件」,进行条件的设置。首先设置部门主管可以看到支撑部门所有的数据。
设置条件:当登录者职位属于部门主管时,可以看到部门为支撑部门的数据。

3)再点击「添加权限条件」按钮,进行组长的权限设置。
设置条件:当登录者职位属于文档组组长,可以看到小组是文档组的数据。

4)测试组组长的设置同上,当登录者职位属于测试组组长,可以看到小组为测试组的所有数据。

5)其他小组组员在查看时,仅能看到自己的数据。
设置条件:当登录者职位是成员的时候,能看到人员属于登录者用户名,也就是自己的数据行。






